解決方案
SOLUTION
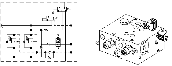
集裝箱正面吊運機液壓閥組
2019-01-23
首頁 > 解決方案 > 配套產品 > 液壓閥 > 集裝箱正面吊運機液壓閥組

項目: 集裝箱正面吊運機液壓閥組
編號: jc13
????
????正面吊臂架伸縮油缸控制閥組,實現油缸差速運動并具有平衡閥功能,溢流閥彈簧腔直接與大氣相連接不受系統背壓影響。
The valve assembly is used for telescope control, which can achieve differential move of cylinder and it has the function of counterbalance valve, and the spring cavity of valve connect to atmosphere without the influence of pressure at the back.
?工作壓力:350 bar;
工作流量:220L/min;
